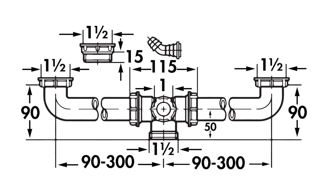
Bekkenverbinder, wit

26,14

Verbinder voor 2 bekkens. Is vereist, wanneer twee Corno spoelunits met elkaar verbonden moeten worden.