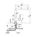
PAFFONI Ringo eenhendel keukenmengkraan

299,14

PAFFONI nr. RIN185NO102

Op voorraad